| Sign In | Join Free | My ecer.com.ru |
|
Brand Name : POWERFLOW
Model Number : 2800+1600
Certification : ISO9001. CE. Nepsi
Place of Origin : CHINA
MOQ : 1 Nos
Price : Quotation Offered by Email.
Payment Terms : T/T
Supply Ability : 50Nos/Week for every single Customer.
Delivery Time : 10-15 Days
Actuator Material : Plastic
Working Pressure : 10Bar
Available Size : DN15-DN80
Air Supply : 4-8bar(Single-Acting); 2.5-8bar(Double-Acting)
Standard : DIN, SMS, ISO, IDF,RJT, 3A, etc
Certificate : CE
1. Description
The diaphragm control valve is combined with the intelligent positioner(1600) and the diaphragm valve(2800). The product can easily be operated via the keypad. It detects the external setting signal and the signal of internal displacement sensor, and adjusts valve stroke quickly and accurately by using automatic control algorithm and PWM control technology.

2. 2800 Technical Datas
| Valve Body Material | Stainless steel 316(CF8M)/316L(CF3M) |
| Seal Material | EPDM/PTFE |
| Working Pressure | 10Bar |
| Working Temperature | -20-180 degree centigrade (PTFE) -20-150 degree centigrade (EPDM) |
| Availably size | DN15-DN80 |
| Availably connection | Thread, Weld, Clamp, Flange |
| Air Supply | 4-8bar(Single-Acting) 2.5-8bar(Double-Acting) |
| Standard | DIN,SMS,ISO,IDF,RJT,3A,etc |
| Certificate | CE |
3. Assembling
The positioner and Valve is connected by thread. You can easily assemble them with a #32 wrench.
After assembling, the Positioner can still have 360°Rotation to fix to your favourite position.

4. 2800 Series Flow Characteristics
| Stroke(%) | Kv(%) | Stroke(%) | Kv(%) |
|---|---|---|---|
| 0 | 0 | 55 | 54.2 |
| 5 | 0 | 60 | 61.5 |
| 10 | 0 | 65 | 70.3 |
| 15 | 0 | 70 | 75.7 |
| 20 | 5.1 | 75 | 79.7 |
| 25 | 7.5 | 80 | 85.1 |
| 30 | 16.6 | 85 | 88.6 |
| 35 | 22.2 | 90 | 92 |
| 40 | 30.3 | 95 | 96.1 |
| 45 | 35.1 | 100 | 100 |
| 50 | 45.3 |

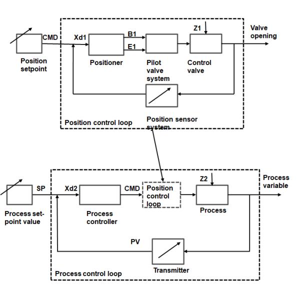
5. 1600 Series Positioner Signal Flow Diagram

6. 2800 Sereis Type Selection

* Default actuator type is Single acting and normally close, Please remark if you need other type of actuators
|
|
ISO Standard SS316L CF3M Pneumatic Operated Diaphragm Valve Images |